80L無軸雙錐螺帶混合機
詳細介紹
無軸雙錐螺帶混合機涉及化工、醫藥、醫療器械、鋰電、高能電池、硅橡膠、科研實驗等技術領域,特別對單批次生產和小批量的化學實驗應用,尤其涉及PLA、PGA、PBO等超高粘物料的混合攪拌或化學反應領域。
.png)
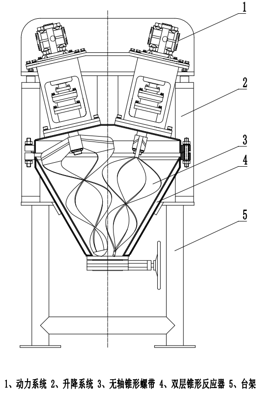
雙錐體無軸螺帶混合裝置,雙層錐形殼體是為了調節反應或混合溫度,在錐形反應皿的外部 增加一個內部中空的夾套用于通過熱媒或冷媒介質,從而對錐形反應皿進行溫度調節。
.png)
雙錐體是將兩個錐形容器通過一定的夾角拼接成“∞”形的雙聯錐體,其目的是在有限的空間內增加攪拌混合面積,在反應器內形成多方向螺旋混合流,減少物料的反應死角等,用以達到高粘物料的充分混合或反應,同時方便超高粘物料的出料和清潔清洗。所述無軸錐形螺帶的傳質、傳熱和界面更新的卓越效果,使反應空間內的物料在上下翻滾與混合時都沒有死角,使混合和反應更加充分;同時更不會因為軸的存在使物料在混合(反應)過程中在軸心部位因抱軸而形成的殘留死角。
.png)
同向螺帶組合的同向螺旋混合流
.png)
正反螺帶組合的反向螺旋混合流
該雙錐體無軸螺帶混合裝置,考慮到了不同的化工原料會有異味、毒性、刺激等情況,設計成密閉工作空間,設有真空口、充氣口等對反應壓力調節,以及對異味等進行抽排處理,從而保證環保要求和安全需要。
索孚科技公司鄭重承諾,凡購買我公司產品,一年內保修,終生維護。
功能攪拌開啟高效生產,浙江索孚中國攪拌專家,購品質設備,選浙江索孚!
浙江索孚化工設備有限公司專業生產高速分散機、研磨機、乳化機、不銹鋼拉缸,專門配套涂料,染料,顏料,油漆,油墨,膠合劑,樹脂,藥膏,化妝品,造紙,食品,橡塑,復合材料,絕緣材料,磁性材料,其它色漿等化工行業產品的液-固濕法分散、研磨、攪拌、均質、混合、溶解工藝。浙江本土分散機生產廠家,質量有保障,品質看得見, 售后就在您身邊!



